-
復雜溶液蒸發技術(CSE)閃耀2025長三角(南通)綠色低碳轉型交流會,引領工業節能新變革 2025年5月15日,一場聚焦綠色低碳發展的盛會——2025長三角(南通)重點用能企業綠色低碳……-
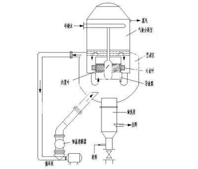
等梯度降溫結晶系統的特征 等梯度降溫結晶技術是通過粘滯流壓縮機作為鈦液罐的抽氣設備,罐體內溶劑水在真……READ MORE
簡述自回熱精餾系統的適用條件 自回熱精餾系統(SHRT把塔頂任溫蒸汽通過蒸汽壓縮機壓縮、提高其溫度、壓……READ MORE
友情鏈接:
-



